Lowndes Area Knowledge Exchange (LAKE)
Page 51
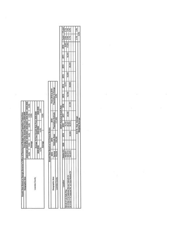
Traffic Engineering Report, N Valdosta Rd @ Val Del Road
Subdivisions subsidized by roads, EV charging, VAWA, Soccer complex, Courtroom AV @ LCC
11 April 2022
bigger
PDF
Photographs
by
Lowndes Area Knowledge Exchange (LAKE)
,
licensed by a
Creative Commons Attribution-Share Alike 3.0 U.S. License
.
Lowndes Area Knowledge Exchange (LAKE)