Lowndes Area Knowledge Exchange (LAKE)
Page 49
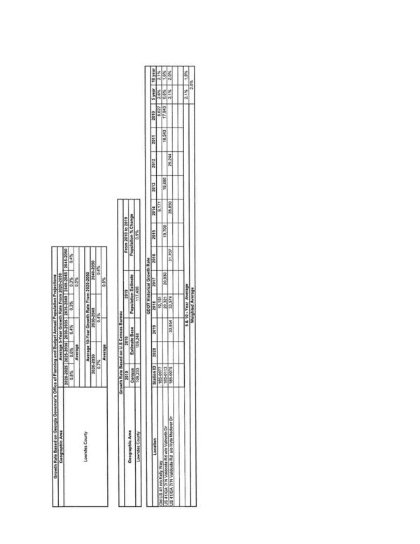
Lowndes County Traffic Engineering Report: N. Valdosta Road and Val Del Road
Back again: Camelot Crossing subdivision, Val Del Estates street acceptance @ LCC
25 April 2022
bigger
PDF
Photographs
by
Lowndes Area Knowledge Exchange (LAKE)
,
licensed by a
Creative Commons Attribution-Share Alike 3.0 U.S. License
.
Lowndes Area Knowledge Exchange (LAKE)